
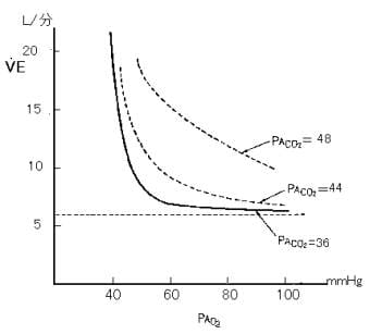
「換気の酸素応答」は、図のようにPao2 またはPAo2 が低下すると換気が刺激される反応である。二酸化炭素レベルにも依存する。
1.通常の酸素レベル(Pao2 が100mmHgに近いレベル)では、「応答が弱い」つまりPao2が変化しても換気の変化は小さい。
2.換気の酸素応答は、低酸素が持続しても弱くならないのが特徴。
(参考:二酸化炭素の応答は履歴の影響が大きい。)
3.換気の酸素応答が、重要な役割を果たす場面
3-1 Pao2 が急性に低下する場合:例、高地への移動、登山など
3-2 Paco2 上昇が持続し、換気の二酸化炭素応答が鈍化した場合。
